對比304、304L、304H不銹鋼。詳解304H(S30409)合金知識
304H合金一般屬性
耐腐蝕 防止產品污染 抗氧化 易于加工 良好的成形性 外觀精美 易于清潔 高強度、低重量 低溫環境下,良好的強度和韌性 已存在多種產品形式
★由于版面限制,下面的圖片請點擊放大看!
一、化學成分

1
均勻腐蝕:奧氏體不銹鋼304,304L,304H,在適度的氧化和還原環境下,具有相當的耐腐蝕性。這些合金被廣泛用于加工和處理食物飲料,奶制品設備和器具。熱交換器,管道,油罐,和其他與淡水接觸的加工設備都可以采用這些合金。這些合金的鉻含量是18-19%,在氧化環境下具有抗氧化性。下表是304合金在稀硝酸環境下的氧化率。

2
粒間腐蝕:18-8奧氏體不銹鋼暴露在800°F至 1500°F (427°C至 816°C)溫度下,可能引起碳化鉻在晶界沉淀。這類不銹鋼暴露在苛刻環境下,容易形成粒間腐蝕。304合金中的碳成分導致其在氣焊和熱影響區焊接過程中的熱狀態下,產生敏化。因此,材料在焊后狀態使用的情況下,通常選用碳含量較低的304L合金。低碳含量延長了碳化鉻沉淀到危害水平的時間,但是材料長期處于沉淀溫度范圍內,并不能完全消除這種沉淀。

3
應力腐蝕龜裂:304,304L,304H合金是奧氏體不銹鋼中最容易發生應力腐蝕龜裂的(SSC),因為他們的鎳含量相對低。引起應力腐蝕龜裂的條件有:(1)鹵化物離子的存在(通常是氯化物),(2)殘余的張力,(3)溫度超過120°F (49°C)。合金成形過程中的冷變形,拉幅成管板,焊接操作等都可以產生應力。退火,冷變形后的消除應力熱處理都可減少應力,因而降低了鹵化物應力腐蝕龜裂可能性。在可能引起粒間腐蝕的環境中,低溫退火狀態下作業,最好選擇低碳的304L合金材料。

4
點腐蝕:18-8合金被非常成功地應用在氯離子含量低的淡水中。一般來說,尤其是有縫隙出現的情況下,18-8合金的極限是100ppm 的氯化物。高含量的氯化物可能引起隙腐蝕和點腐蝕。在更嚴厲的條件下,如:低PH值,或者高溫,則會考慮使用鉬含量較高的合金,如316。18-8合金也不建議用于海洋環境。
密度:
0.285 lb/in3 (7.93 g/cm3)
抗拉彈性模數:
29 x 106 psi (200 GPa)
線性熱膨脹系數:


磁導率:
18-8合金在退火狀態下是無磁性的,磁導率在200H的情況下一般低于1.02。磁導率會因金屬的成分不用而有所不同。通過冷作,可以提高磁導率。

室溫下的機械性能
已退火的304和304L奧氏體不銹鋼板,ASTM標準A240, ASME標準SA-240,要求的最低機械性能如下表所示:

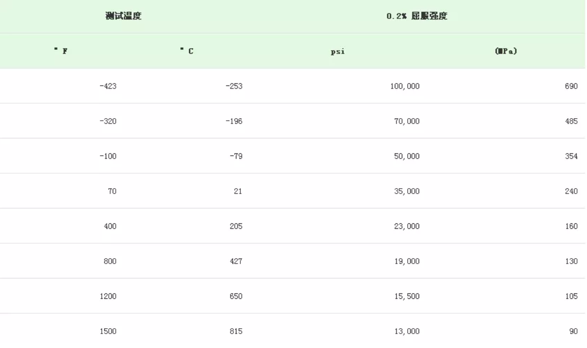
低溫和升溫情況下的短期抗拉性能如下表所示。溫度達到1000°F (538°C)或以上,要考慮應力龜裂,應力龜裂數據也在下表顯示。


已退火的奧氏體不銹鋼即使在低溫條件下,仍然能保持較高的沖擊阻力,再加上低溫硬度和加工性等性能,因此被用于處理液化天然氣和其他低溫環境下的作業。夏氏V形沖擊實驗的數據如下表所示
3
金屬材料在無限多次交變載荷作用下而不破壞的最大應力稱為疲勞強度或疲勞極限。奧氏體不銹鋼的疲勞強度一般來說是抗拉強度的35%,在實際作業中,疲勞強度也會受其他因素影響,如:增加表面的平滑程度,可以增加疲勞強度,作業環境腐蝕性增加,則降低疲勞強度。
材料被焊接過程中會形成溫度階梯,從熔池的熔化溫度到離焊接點稍遠的周圍溫度。被焊接材料的碳含量越高,焊接熱循環就更容易導致碳化鉻沉淀,對材料的耐腐蝕性有影響。為了保持材料的耐腐蝕性處于最好的水平,因此在已焊接狀態下作業,應該選擇低碳材料(304L)。另一種做法是,采用完全退火溶解碳化鉻,使標準碳含量的材料恢復高水平的耐腐蝕性。
焊接完全奧氏體結構的金屬,在焊接操作中更容易形成裂紋。因此,304和304L合金中添加了少量的鐵素體,降低材料的裂紋敏感性,達到重新固化的作用。
把18-8奧氏體合金焊接到碳鋼時,通常用309合金(23%鉻-13.5%鎳)或鎳基焊料。